More Transom Diagrams
Drawings are to scale, but not to each other.

Please click pictures for expanded view

100 by 18 inch
63 small
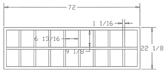
72 x 22-18Small
9x12
57x27-21 lite edita

6 x 16 large

Please click pictures for expanded view

First Line Sales, 802-257-2011
www.firstlinesales.com

email kpaul84@live.com